|
盤銷式鋁合金腳手架是由一種模塊式結構,由一套相互連接的預制件構成的鋁合金腳手架
|
說明:
1---可調底座; 2---立桿; 3---豎向斜桿; 4---水平桿(橫桿); 5---上落梯; 6---連墻件; 7---踢腳板; 8---工作平臺(踏板); 9---水平斜桿; 10---水平桁架; 11---防護網; 12---防護網水平桿連接件; 13---防護網立桿連接件。 |
|
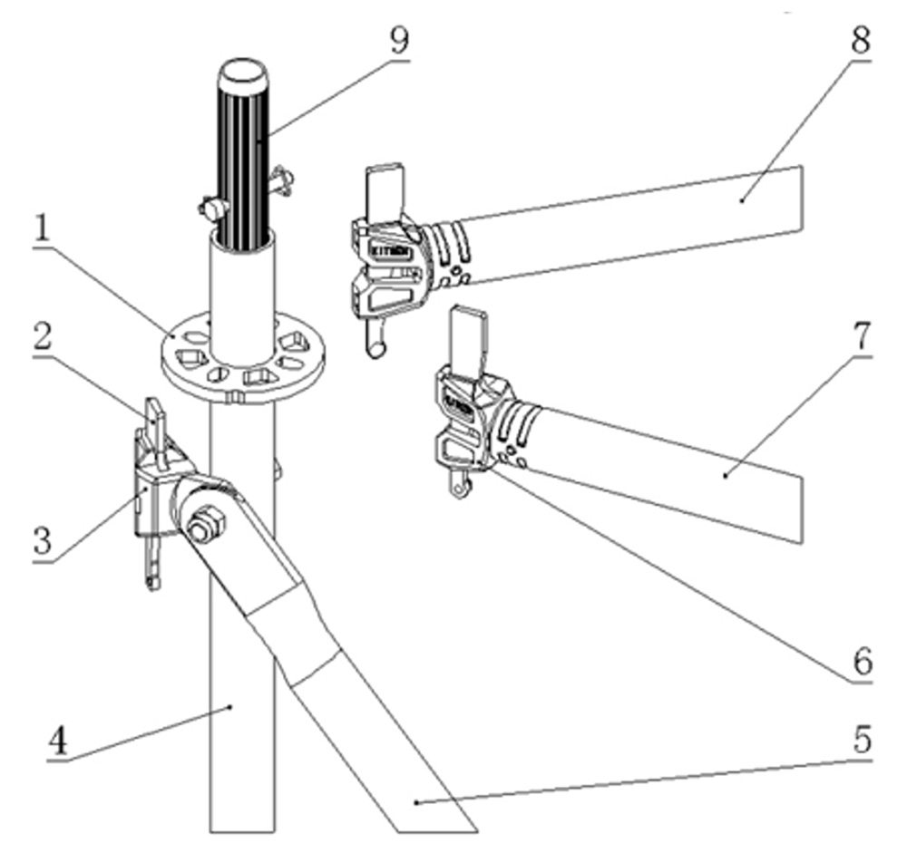
說明: 1---連接盤; 2---扣接頭插銷; 3---斜桿桿端扣接頭; 4---立桿; 5---豎向斜桿; 6---水平桿桿端扣接頭; 7---水平桿(橫桿); 8---水平斜桿; 9---連接套管。 |
|
1.立桿
① 管體采用材質為6061-T6;
② 管體每隔500MM設置焊接8孔連接盤;各桿件軸心交于一點。架體受力以軸心受壓為主,由于有斜拉桿的連接,使得架體的每個單元近似于格構柱,因而承載力高,不易發生失穩。 ③ 連接銷固定于立桿一端,用于立桿豎向接長的內插管。 |
|
|
立桿 LG
L=500、1000、1500、2000、2500、3000 |
|
2. 水平桿
① 管體材質采用6061-T6; ② 兩端鉚接鑄件扣接頭,與立桿連接盤采插銷連接的水平桿。
|
|
a=300、600、900、1200、1500、1800、2100、2400、2700、3000
|
3. 斜桿
① 管體材質采用6061-T6。 ② 兩端裝配有轉動扣接頭,與立桿連接盤采用插銷連接的斜向桿件。 |
|
|
4. 可調底座
插入立桿底端可調節高度的底座。主要用于調節架體在不平整的環境進行調節。 |
|
|
5. 工作平臺踏板
裝配在水平桿上,作為施工或承托物品的工作平臺。采用鋁框+ 木防滑膠合板制作,且自帶防風、開窗功能。 踏板寬度有300和600兩種,長度600~3000,每個300一種規格。 |
|
垂直放在作業平臺邊緣,防止人員腳誤踩空或防止墜物傷人。
踢腳板 TB
a×200
a=300、600、900、1200、1500、1800、2100、2400、2700、3000
裝配在橫桿上,可供施工人員上下通行。
|
結構:梯踏臺,梯腳踏板、側梁組合焊接型;+內、外扶手組成。 優點:跨度度400-800、承載高、安裝快速。 |
|
結構:側梁之間鉚合防滑橫桿,鉤掛在橫桿上。 優點:跨度350-600mm、重量輕、安裝快速。 |
|
|
8. 連墻件
腳手架與結構體連接的桿件。 作用:增加架體的穩定性,防側翻。 連墻件 ? |
|
|
9 水平桁架
由上下弦桿焊接組成的與立桿扣件的水平加強桿件,用于腳手架跨空位置。 作用:(施工)人行、車通道、飛機、輪船、設備維修等等。 |
|
通過與立桿、水平桿的連接件安裝在腳手架外圍的防護裝置。

1、廣泛應用于房建內外架、橋梁建設、高空作業平臺、舞臺搭設和構造特殊的工程使用。
2、該產品主體采用鋁合金制作,安裝和拆卸可節約人工50%以上。
3、拼裝不需要專業人員,全程免螺栓安裝,降低了勞動強度。
4、在同等荷載情況下, 比傳統腳手架材料可以節省1/3左右, 產品壽命可達15年,
節省相應的運輸費、搭拆人工費、管理費、材料損耗等費用。
|
|
| 1. 腳手架塔須由至少2名工作人員操作。有關適當培訓的詳細信息,請與您的供應商聯系。應用制動器,并將可調整的腳輪安裝到立柱管內。 | 2. 將2個水平橫桿安裝在立柱的連接盤內。參見放大視圖。 |
|
|
| 3.完全按照插圖安裝橫桿和立柱。 |
4. (A)將上落梯子安裝在橫桿上。 (B)在垂直框架的橫桿上安裝臨時工作平臺。 (C)在垂直框架上安裝斜桿。 (D)在這一階段,通過調整腳輪上的螺 母使塔架調節到水平 |
|
|
| 5. 在移動腳手架的立柱安裝三角斜撐,如圖所示。為了獲得三角斜撐的最大伸長率,下臂應盡可能接近水平。 | 6. 當站在臨時工作平臺上時,將框架向上增加,并安裝好扣銷,并確保框架牢固連接。每架安裝后,扣銷應放置一次。 |
|
|
| 7. 將工作平臺重新安裝在適用高度橫桿上。站立在第一個平臺上時,按照圖示正確安裝橫桿和斜桿。 | 8. 當站在第一個工作平臺上時,安裝梯子、橫桿、斜桿,并添加一個臨時工作平臺,如圖所示。 |
|
|
| 9. 重復步驟4-8,直到達到所需的工作平臺高度,如圖9所示。 | 10. 在前面和后面安裝護欄框架。 |
|
11. a)將臨時工作平臺重新定位到橫桿上。 b)安裝踢腳板。禁止在沒有護欄的平臺上工作。 C)注意,移動腳手架的拆除順序是相反的。 |
| 工程項目 | 產品使用對比 |
| 核電現階段產品 | 鋁合金圓盤在香港水務處設備維修 |
| 香港機場飛機維護工程 | 馬來西亞吉隆坡酒店外墻裝修工程 |